Apple превратит боковые грани iPhone в интерактивный дисплей с виртуальными кнопками
Apple получила в Бюро по регистрации патентов и торговых марок США патент, который описывает новую технологию реализации клавиш на iPhone и iPad. Заявка, зарегистрированная в 2011 году, называется «Электронное устройство с дисплеем на боковой стороне».
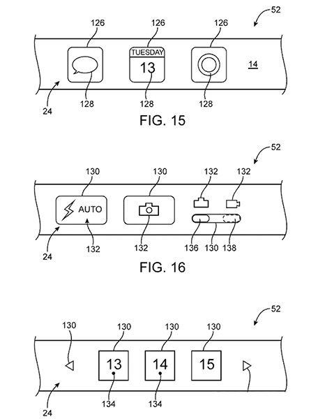
Из описания технологии следует, что физические кнопки боковых панелей у смартфонов и планшетов Apple следующего поколения могут быть заменены на интерактивные дисплеи с виртуальными элементами управления. В документе показано устройство, состоящее из нескольких слоёв гибких дисплеев, расположенных под стеклянным или пластиковым корпусом. Дополнительный экран расположен как минимум на одной грани мобильного устройства.

В документах инженеры Apple отмечают, что сенсорная панель на боковой стороне iPhone принесёт смартфону ряд новых функций: сюда могут быть перенесены некоторые функции приложений, элемент разблокировки операционной системы, кнопки для управления музыкой, камерой и т.д.

Нововведение обещает разгрузить основной дисплей iPhone и сделать управление устройством более интуитивным. Так, к примеру, пользователь сможет отменить входящий вызов, не доставая телефон из кармана.
Наблюдатели говорят, что технология выглядит вполне реалистично и может появиться в iPhone и iPad в ближайшие годы.