Apple получила патент на шлем виртуальной реальности для iPhone
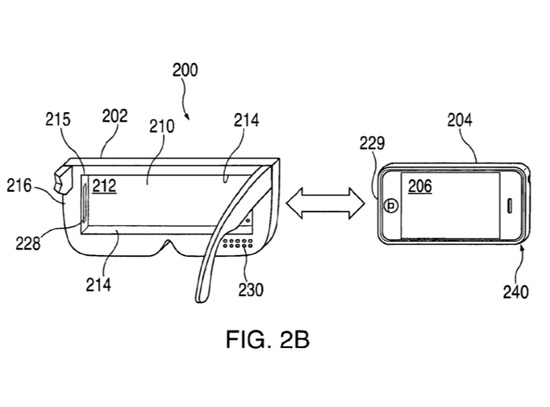
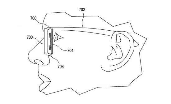
Бюро патентов и торговых знаков США выдало Apple патент на «Носимый на голове прибор для удержания портативного электронного устройства с дисплеем». Судя по описанию, компания ориентируется на гаджеты с небольшим экраном.
По сути, речь идёт об аналоге шлема виртуальной реальности Samsung Gear VR. Напомним, что особенностью Gear VR является то, что роль дисплея в нём играют смартфоны южнокорейского бренда.

Аналогично, в патенте Apple описывается некое подобие очков со специальным отсеком, в который может быть помещён, скажем, iPhone 7 или iPhone 7 Plus. В этом случае дисплей портативного устройства превратится в экран носимого на голове изделия.

VR-шлем Apple включает пару линз, датчик расстояния, сенсорную панель, несколько кнопок управления и колесо, отвечающее за фокусировку. Специалисты компании также предлагают использовать для контроля работы очков виртуальной реальности компактный пульт дистанционного управления. Обмен данными при этом будет осуществляться посредством беспроводного интерфейса.

Примечательно, что заявка на патент была подана Apple еще в сентябре 2008 года, то есть задолго до появления не только шлемов вроде Samsung Gear VR, но и проекта Oculus Rift. Впрочем, о планах Apple по практической реализации идеи ничего не сообщается.