Apple получила патент на гибкий OLED-дисплей с функцией громкоговорителя
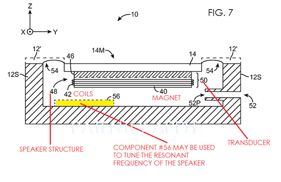
Бюро патентов и торговых знаков США выдало Apple патент на технологию производства гибких OLED-дисплеев, совмещающих в себе функции динамика. Устройство дисплея-громкоговорителя показано на иллюстрациях в документах. Преимуществом такого подхода является большая площадь звукового излучателя.
Реализация экрана на органических светодиодах, совмещенного с громкоговорителем, предусматривает отсутствие динамика в виде отдельного компонента смартфона. Однако, имеются вопросы относительно того, как это отразится на качестве изображения.
До сих пор Apple не использовала в своих продуктах дисплеи, выполненные по технологии OLED. В iPhone и iPad компания применяет LCD-экраны, которые, как считают в Купертино, являются самыми совершенными в индустрии. Однако все идет к тому, что Apple переведет свои гаджеты на технологию органических светодиодов.

В декабре стало известно, что Foxconn в течение нескольких лет инвестирует $2,6 млрд в строительство новой фабрики для Apple. Как утверждает японская газета Nikkan Kogyo Shimbun, на этом заводе будут выпускаться OLED-дисплеи для «яблочных» устройств.

Недавно Apple получила патент на гибкие электронные гаджеты, для которых хорошо подходят именно дисплеи OLED.