Apple получила патент на док-станцию с подвижным коннектором
Бюро патентов и торговых марок США во вторник выдало Apple патент на новую док-станцию со специальным разъёмом и поворотным механизмом. Суть конструкции, обеспечивающей подвижность коннектора, находящегося внутри стыковочной станции, наглядно передана на иллюстрациях к документу.
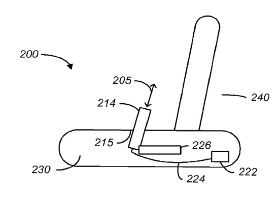
Заявка под номером 9075573 на инновационный док была подана Apple в 2012 году. В патенте описывается док-станция для мобильных устройств с прочным подвижным соединительным разъёмом. Как следует из описания технологии, в Купертино предлагают использовать в подставках подвижный коннектор, который автоматически выдвигается и изменяет угол наклона при установке и отключении устройства. Это позволяет избежать случайного повреждения мобильного устройства.

«Если к смартфону или планшету, подключенному к док-станции, будет приложено усилие, устройство изменит положение, а разъем останется цел. Таким образом, подвижное крепление разъема уменьшает риск его поломки», – отмечается в патенте.

Специальный механизм позволит существенно снизить вероятность повреждения док-станции и подключаемого к ней iPhone или iPad. Сейчас нередки случаи, когда подставка и разъём аппарата выходят из строя из-за неправильного подключения/отключения. Конструкция запатентованной стыковочной станции предусматривает возврат гаджета в прежнее положение, как только приложенное усилие исчезает. Другими словами, разъем будет подпружинен.

Запатентованная конструкция может найти применение в фирменных док-станциях для смартфонов и планшетов Apple. Правда, когда подобные аксессуары будут представлены в продаже, неизвестно.