Apple получила одобрение на «последний патент Джобса»
Американское Бюро по патентам и товарным знакам (USPTO) утвердило патентную заявку компании Apple на «носимое на запястье электронное устройство» под названием iTime. Согласно данным USPTO, заявка на патент была подана 20 июля 2011 года, за месяц до ухода основателя Apple Стива Джобса с поста генерального директора.
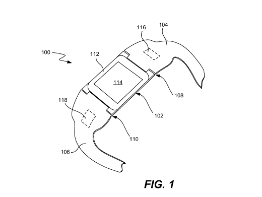
Патент описывает предполагаемый гаджет Apple как «электронный браслет, способный подключаться к смартфонам, планшетным компьютерам и другим электронным устройствам по беспроводному соединению». «Браслет» состоит из квадратного дисплея, крепящегося к двум ремешкам, и по своему внешнему виду напоминает часы.

Значительная часть патента указывает на iTime, как на портативный медиаплеер, который можно носить на руке. Составители заявки сразу в нескольких местах проводят прямые параллели с уже существующим устройством Apple — плеером iPod Nano.
Например, ссылаются на слоган iPod Nano — «A new way to Nano» — использовавшийся в рекламной кампании 2010 года. Реклама iPod тогда акцентировала внимание портативности гаджета и возможности носить его, прикрепляя к карманам одежды или ремням сумки.
В то же время в другой части заявки приводится целый ряд будущих функций iTime, которые делают устройство сравнимым с существующими сегодня на рынке «умными часами».
Среди составляющих «браслета» упоминаются акселерометр, GPS-навигатор, возможность получать текстовые сообщения, оповещения о звонках, поступающих на синхронизированный с устройством смартфон, а также просматривать уведомления и новостную ленту социальных сетей.

Сходство iTime с «умными часами» демонстрирует и один из последних рисунков, приложенных к патенту. На нём гаджет изображен уже не виде плеера, прикреплённого к ремешку, а в виде полноценных часов со встроенным дисплеем.

Слухи о готовящемся Apple выпуске «умных часов» ходят уже несколько лет. Официально компания никогда не опровергала и не подтверждала информацию о разработке подобного гаджета.
В июне этого года агентство Reuters со ссылкой на анонимный источник сообщило, что IT-гигант, наконец, готов начать производство устройства и рассчитывает представить его на рынке осенью.
Предполагается, что сборкой гаджета (до появления в патенте названия iTime его чаще всего называли iWatch) займётся тайваньская компания Quanta Computer, ранее собиравшая для Apple плееры iPod и ноутбуки MacBook. Сообщалось, что «умные часы» Apple получат 2,5-дюймовый экран и кроме основных функций смогут также отслеживать важнейшие показатели здоровья владельца, выполняя роль фитнес-трекера.