Apple патентует способ передачи подарков для iTunes
Бюро по регистрации патентов и торговых марок США в четверг опубликовало заявку Apple на получение патента на систему, которая позволяет пользователям дарить контент из iTunes или из имеющихся на устройстве библиотек. Патентуемая система, с названием «Способы и устройства для дарения медиа контента» является, казалось бы, простым изобретением, которое, однако может оказать серьезное влияние на приобретение и потребление цифрового контента.
Основой изобретения является дарение подарков, то есть простая идея покупки песни, книги или видео для того, чтобы передать другому человеку. В документе описаны 2 способа: покупка подарка из iTunes, или передача уже принадлежащей пользователю копии контента на другое устройство.
У Apple уже существует система подарков, основанная на подарочных картах (iTunes Gift Cards), приобретаемых в App Store, однако сейчас невозможно подарить купленную копию контента.
Патентная заявка содержит ряд способов, с помощью которых владельцы iOS устройств могут дарить подарки из iTunes. Во всех случаях передачи контента используются технические средства защиты авторских прав (DRM). Данная система практически повторяет существующую, за исключением возможности передачи подарков при помощи NFC (Near Field Communication, технология беспроводной связи малого радиуса действия), вместо электронной почты. К тому же, к подарку можно будет прикрепить фото, аудио, или сообщение.

Вот как это будет происходить:
1. Дарящий выбирает подарок, например фильм;
2. Этот фильм сохраняется в виде подарка в аккаунте пользователя, который дарит (его нельзя будет воспроизвести);
3. Сервер iTunes проверяет наличие у получающего подарок специального ключа (чтобы подарок не мог активировать случайный пользователь);
4. Подарок активируется в аккаунте принимающего.
Также описан другой, более интересный способ. В нем происходит передача уже купленного контента.
Здесь Apple вновь использует метод аутентификации через центральный сервер, который определит возможность передачи того или иного контента. Например, Вы сможете передать песню, воспроизводимую в данный момент, нажав соответствующую кнопку. Дальше есть 2 варианта:
Если у обоих есть доступ в Интернет:
1. Устройство дарящего отправляет запрос на сервер о желании подарить выбранную композицию;
2. После подтверждения, с дарящего списывается стоимость песни;
3. Пользователь, принимающий подарок получает разрешение на загрузку песни из iTunes.
Если у кого-либо отсутствует доступ в Интернет:
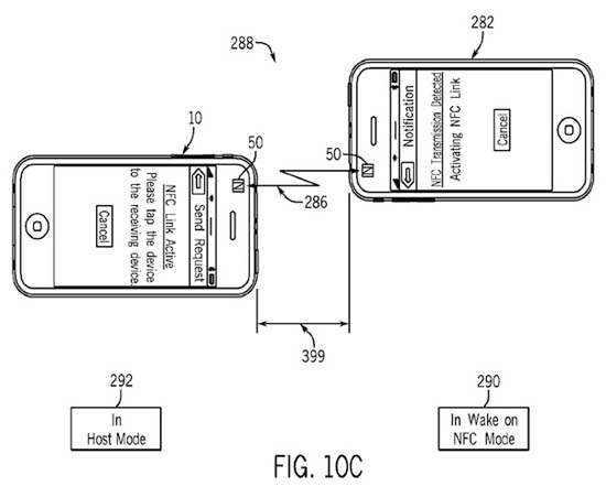
1. С одного устройства на другое, посредством NFC передается зашифрованная неактивированная версия контента;
2. Получающий активирует ее позже при подключении к интернету;
3. Со счета подарившего списывается стоимость подаренного контента.

Также в патенте описываются различные способы обеспечения безопасности всех операций.
Пока, неизвестно, будет ли данный функционал реализован в последующих версиях iOS, однако подобное упрощение системы подарков благотворно повлияло бы на покупателей.