Apple патентует самообучающуюся систему для "умного" дома
На днях в сети появилась информация о новом патенте компании Apple, в котором описана работа центрального узла в "умном" доме. Инженеры из Купертино предлагают использовать самообучающуюся платформу, которая будет приспосабливаться к действиям пользователя. По своим возможностям новая разработка сильно отличается от HomeKit, однако если компания решит реализовать описанные в патенте идеи, то существующий сервис может послужить своеобразной основой.
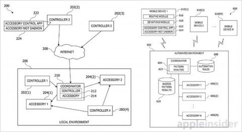
В патенте Apple использует единый центральный узел под названием координатор. Он должен собирать и обрабатывать разнообразные данные, поступающие не только от датчиков в "умном" доме, но и от мобильных устройств.

Собранные данные должны помочь различным системам подстраиваться под жильцов. В частности, система способна запомнить примерное время, когда пользователи возвращаются с работы, и к этому моменту подстраивать температуру, включать музыку и т.д.

Более того, инженеры корпорации предусматривают возможности самообучения при наличии двух и более пользователей. В этом случае координатор будет отслеживать привычки пользователей в зависимости от их действий и контакта между собой.