Apple патентует новую систему фотокамеры
Смартфоны уже вытеснили с рынка семейство так называемых «мыльниц» — компактных цифровых камер низшего ценового диапазона. Однако качество фотографий хорошей «мыльницы» всё же лучше. Похоже, производители смартфонов решили прекратить бессмысленную «гонку мегапикселей» и сосредоточиться на действительно полезных улучшениях.
И первой, судя по всему, стала компания Apple со своей новой запатентованной системой фотокамеры.

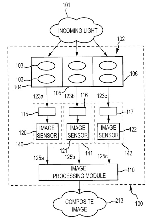
Патент под заголовком «Система захвата изображения и использованием датчиков яркости и цветности» описывает метод, заключающийся в использовании трёх различных сенсоров и линз с целью кардинального улучшения качества фотографий и цветопередачи. Каждый сенсор имеет свой набор линз, который отвечает за направление светового потока на матрицу. Используются два сенсора цветности и один — яркости. Как только изображения будут получены с каждого датчика, они будут скомбинированы в единый кадр.
Новшество в изобретении Apple заключается в том, что в такой системе линз и матриц невозможна проблема «слепого пятна», которая встречалась ранее в подобных проектах. Apple удалось добиться этого путём использования двух сенсоров цветности вместо одного, так, что их «слепые пятна» не накладываются.

Конечно же, хотелось бы увидеть такую систему в действии, однако, как и со многими другими патентами Apple, и этот может просто «лечь на полку» в ожидании лучших времён.