Apple патентует бесконтактное управление и датчик сердцебиения
Компания Apple получила патенты на бесконтактное управление сенсорным интерфейсом и встраиваемый датчик частоты сердцебиения, который может быть использован для идентификации пользователя мобильного устройства, сообщает интернет-портал AppleInsider.

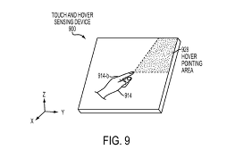
Патент Apple - бесконтактное управление
Из описания патентов, приведенного в материале портала, следует, что технология бесконтактного управления во многом аналогична системе, которая уже используется в смартфонах компании Samsung, и может определять положение пальца над экраном устройства по изменению электрического поля. В патенте Apple также описываются способы применения этой технологии, в частности, для улучшение распознавания жестов пользователя, определения и блокировки случайных нажатий, а также более точной реакции на касания экрана при холодной погоде.
Патент на встраиваемый датчик частоты сердцебиения предполагает использование металлических частей корпуса мобильного устройства, проводящих электрический ток, для получения показаний.

Патент Apple - датчик сердцебиения
Это позволяет снимать данные о пульсе пользователя без прямого контакта с сенсором. По информации из описания патента, точности работы такого датчика достаточно для определения уникального для каждого человека «профиля» сердцебиения, что дает возможность использовать эти данные для идентификации пользователя.
Apple пока не сообщала о сроках появления этих технологий в своих устройствах. Ранее компания получила патент на систему распознавания лиц, которая также может быть использована для разблокировки мобильной техники или выполнения определенных функций в приложениях.