Apple объединит сапфировый дисплей iPhone с рамкой из «жидкого металла»
Apple планирует использовать новую технологию для объединения сапфирового стекла iPhone с дисплейной рамкой, изготовленной из аморфного сплава, более известного как Liquidmetal. Договор с производителем «жидкого металла» Liquidmetal Technologies компания из Купертино заключила еще в 2010 году, и с тех пор в прессе регулярно появлялись слухи о том, что ряд деталей продукции Apple будет сделан из этого сплава. Новую патентную заявку Apple опубликовало во вторник Бюро патентов и торговых марок США.
«Жидким металлом» называется легкий сплав из циркония, титана, никеля и меди. Разработанный Liquidmetal Technologies материал устойчив к царапинам и при этом он относительно легкий. Передовой сплав объединяет преимущества металла, стекла, пластмассы: он прочен, устойчив к коррозии, и может принимать сложные формы. Изделия, созданные из Liquidmetal, очень прочны вне зависимости от приданной им формы, менее обычных подвержены «усталости» и весят меньше.

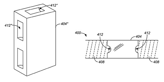
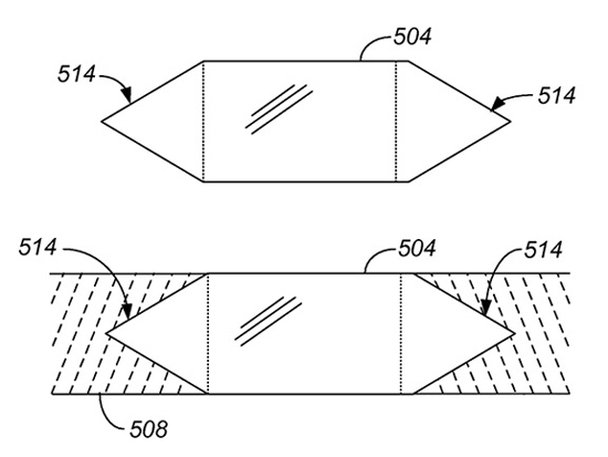
Патент под номером 8738104 называется «Методы и системы интеграции стекла в металлическую рамку». Сейчас конструкция дисплеев iPhone и iPad предусматривает использование по периметру тонкой прорезиненной амортизирующей вставки. Она защищает ЖК-панель от повреждений в случае падения мобильного устройства или резких ударов. Инновационная разработка Apple позволяет обойтись без использования амортизирующей прокладки, так как стекло интегрируется непосредственно в безель, изготовленный из «жидкого металла». Как результат – упрощается производство дисплеев и уменьшается толщина рамки вокруг экрана.
О том, что Apple намерена активнее использовать Liquidmetal, свидетельствует ряд патентных заявок, обнародованных ранее Бюро патентов и торговых марок США. Многие из этих документов напрямую с производителем не связаны, но в заявках указаны имена сотрудников компании, предположительно работавших со сплавами. Пока неясно, будут ли эти разработки применяться для уже существующей продукции Apple или останутся на стадии прототипов.

Ранее один из создателей технологии «жидкого металла» рассказал, что сначала Apple будет делать из Liquidmetal некоторые компоненты для своих устройств, после чего выпустит «революционный продукт» на его основе, который будет очень сложно скопировать. Сейчас Apple применяет эту разработку только при изготовлении скрепки, открывающей лоток SIM-карты в iPhone и iPad.