Apple научит айфоны правильно падать
Представить себе современный мир без использования многочисленных электронных гаджетов просто невозможно. У абсолютного большинства жителей планеты имеется мобильный телефон или смартфон, рынок интернет-планшетов растет не по дням, а по часам. И, естественно, никто не застрахован от случайного падения недешевого, порой, устройства.

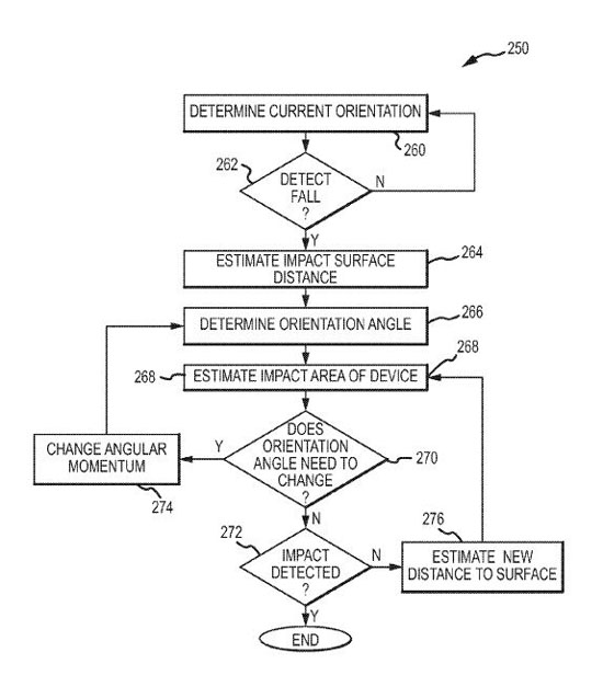
Компания Apple теперь уделяет внимание и этому аспекту использования мобильных устройств. В новом патенте компании «защита электронного устройства» описывается принцип работы механизма, способного перевернуть гаджет во время его падения для защиты наиболее уязвимых частей от удара.
Весь принцип действия защитного механизма основан на встроенном в устройство двигателе, получающем информацию от центрального процессора. Когда датчик в iPhone определит, что устройство находится в свободном падении, он передаст информацию о пространственной ориентации телефона прямиком в процессор, который, в свою очередь, задействует двигатель для изменения углового момента устройства в целях того, чтобы его удар об поверхность привел к наименьшим повреждениям.
Кроме вполне реалистичного механизма изменения ориентации устройства в пространстве во время падения, патент описывает, также, применение специальных вентиляторов или даже системы реактивных двигателей, способных замедлить падение устройства. Впрочем, такой вариант спасения падающих айфонов выглядит совсем уж фантастическим.