Apple нашла способ сделать iPhone еще тоньше
Бюро патентов и торговых марок США опубликовало патентную заявку Apple, которая описывает новые технологии, позволяющие сделать корпус iPhone и iPad еще тоньше.
Документ под названием «Электронное устройство с двумя датчиками изображения» содержит описание новой системы для фото- и видеосъемки. По задумке инженеров Apple, вместо одной камеры в iPhone можно использовать две. При этом устройство будет объединять два полученных фото в одно для достижения максимальной яркости и реалистичной цветопередачи. Также использование двух камер позволит снизить до минимума цифровой шум изображения. Сами же датчики будут гораздо тоньше и, как следствие, станет тоньше и корпус мобильного девайса.

Стоит отметить, что подобная технология уже реализована в новом флагмане HTC One второго поколения. Он оборудован 4-мегапиксельной UltraPixel и дополнительной камерой, которая служит как датчик глубины и позволяет создавать трёхмерные эффекты.
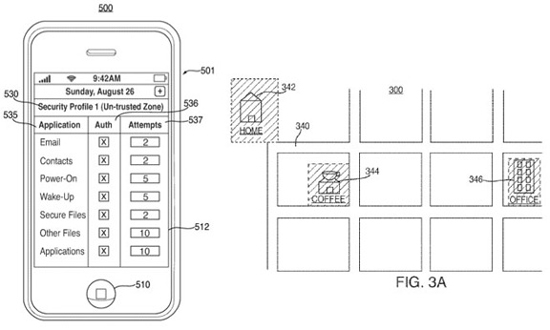
Еще один патент Apple описывает технологию автоматического включения и выключения определенных функций защиты iOS-устройств в зависимости от местоположения пользователя. Так, если человек находится дома, то для разблокировки смартфон или планшета он может использовать простой четырехзначный пароль, однако если он покидает пределы дома, выезжает в офис или находится на работе, то для аутентификации потребуется отпечаток пальца.

О сроках реализации описанных в патентах технологий не сообщается.