Apple может выпустить iPhone с изогнутым экраном
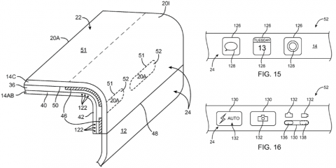
Компания Apple получила новый патент, в котором описывается устройство, напоминающее iPhone, но с изогнутым экраном. Стоит отметить, что это уже не первый подобный патент американского производителя. Впервые "яблочная" корпорация запатентовала устройство с загнутым дисплеем ещё в мае 2014 года - за несколько месяцев до анонса Galaxy S6 Edge. Кроме этого, Samsung в своих устройствах использует непрерывный гибкий дисплей, тогда как Apple предлагает сделать искусственный разрыв между передней стороной и боковыми гранями. Для этого может быть использован ряд неактивных пикселей, или же часть экрана на стыке сторон может быть закрашена.

Дисплеи, расположенные на боковых гранях, могут дополнять основной экран, а также попеременно работать в качестве виртуальных кнопок, виртуальных переключателей или для отображения различной информации. На одном из рисунков показано, что смартфон может иметь прямоугольную форму, как iPhone SE, с активными боковыми дисплеями. Взаимодействие с виртуальными элементами на боковых экранах может осуществляться с помощью постукиваний, свайпов и других движений пальцем.

Как обычно, это только патент, и нет никакой гарантии, что Apple действительно намерена выпустить iPhone с изогнутым или загнутым дисплеем.