Apple изобрела собственную социальную сеть
Чем еще не занимались в Apple - так это социальными сетями. Но последняя патентная новинка показывает, что в яблочной компании заботятся и об этом аспекте современной жизни. Оказывается, в Купертино уже разработали социальную сеть.
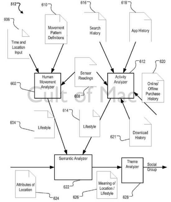
Технология, которая называется "Lifestyle-Based Social Groups" анализирует абсолютно всю информацию, которая проходит через твой гаджет, выделяет интересы и находит схожих тебе людей. Напоминает обычную социальную сеть, только здесь не ты определяешь собственные интересы, а девайс. И он врать не будет.

Судя по патенту, технология изучает твою историю интернет-браузинга, приложения, покупки, которые проходят через гаджет, а также историю загрузок, что помогает найти для тебя идеальную пару "друзей по интересам". Например, если по средам после работы ты постоянно чекинишься в определенном спортивном зале, то Apple будет предлагать тебе познакомиться с людьми, которые совершают те же действия. Более того, патент предполагает создание отдельных социальных групп по интересам, к которым можно будет присоединяться. В этих "клубах" можно будет чатиться и обмениваться информацией.

Но не стоит впадать в паранойю, подобная соцсеть не будет работать по умолчанию. Юзер сам должен будет решить, какой именно информацией он хочет поделиться и нужно ли ему подыскивать партнера для похода в ближайший супермаркет по воскресеньям.