Apple хочет использовать биометрические данные для синхронизации устройств
Бюро патентов и торговых марок США опубликовало новую патентную заявку Apple, в которой описываются методы синхронизации и беспроводной передачи информации через биометрические данные пользователя. Авторами технологии, призванной обеспечить более высокий уровень безопасности, являются инженеры Цин Лю и Чан Чжан.
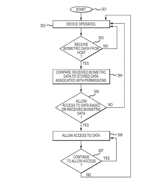
Согласно документу, владелец устройства Apple может получить доступ к данным, расположенным на Mac или iPad, пройдя аутентификацию с использованием биометрической проверки. Описана возможность синхронизации разных гаджетов на основе полученной информации. В частности, смартфоны и планшеты научатся сопоставлять данные с персональным профилем пользователя, который хранится на других «яблочных» устройствах. И в том случае, если биометрическая информация совпадает по всем параметрам, они смогут начать синхронизацию контента.
В сентябре 2013 года Apple представила смартфон со встроенным сканером отпечатков – iPhone 5s. Однако, согласно новому патенту компании, в дальнейшем предполагается аутентификация через опознавание лица, ладони, голоса или глаз. Как отмечают разработчики, подобная система входа будет занимать много времени у пользователя, но обеспечит более надежную защиту информации.

Патент Apple под названием «Беспроводное подключение и синхронизация устройств при помощи биометрических данных» был зарегистрирован 31 августа 2012 года. О сроках реализации описанных в нем технологий не сообщается.