Apple готовит революционный прорыв в создании камер для iPhone
Эксперт Джон Грубер (John Gruber) озвучил в рамках шоу The Talk Show версию о том, что при создании следующей модели iPhone купертиновцы постараются превзойти самих себя. Якобы появилась информация о странном наборе линз для камеры смартфона, которые обеспечат ему DSLR-качество съемки – аналог полноценного цифрового зеркального фотоаппарата.Начиная с 2011-го года и выхода модели iPhone 4S, Apple применяет для основной камеры смартфонов систему из 5-ти фокусирующих линз, плюс сенсоры CMOS, преимущественно разработанные Sony. Грубер же говорит о конструкции, состоящей всего из двух, но «странных» линз, о типе используемой светочувствительной матрицы ему ничего доподлинно неизвестно. Эксперт вообще-то настроен скептически, так как ни принципа действия, ни каких-либо деталей касательно новой камеры он не знает – слух, он и есть слух.
С другой стороны, о любви купертиновцев к японским цифровым оптическим системам известно давно, а Sony как раз буквально на днях представила новинку. Сенсор Exmor RS IMX230 с 21-мп матрицей, который поддерживает HDR-разрешение и может снимать видео формата 4K. Не массивное устройство, а весьма компактный модуль, едва ли не идеальный кандидат на оснащение будущих моделей iPhone, а опционально и iPad. Быть может, Грубер имел ввиду именно такое развитие событий, а слова о «двух линзах» уместнее интерпретировать как подготовку двойного набора сменных объективов для камеры смартфона?

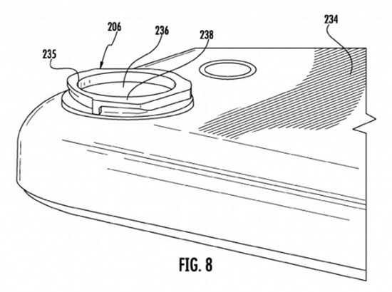
В патентном портфеле Apple схожая разработка имеется и там как раз речь идет о креплении для объективов, а не системе линз. Все устроено по аналогии с профессиональными зеркальными камерами, разнокалиберные объективы ловким движением устанавливаются на смартфон и подготавливаются к работе. Можно ли говорить о DSLR-уровне фотографий при таком подходе – вопрос спорный. В руках Остина Манна в Исландии и руках многочисленных визитеров Apple Store была одна и та же модель iPhone 6, но результаты, что называется, «как небо и земля». Быть может, потому что доморощенному фотографу передовые технические достижения все равно не помогут?