Apple готовит iPhone с дисплеем, обернутым вокруг корпуса
Судя по последним патентам Apple, будущие iPhone все-таки получат изогнутый дисплей. Ранее компания из Купертино запатентовала способ изготовления таких экранов, который позволяет сократить количество брака. Теперь Apple обновила патентную заявку на сапфировый изогнутый дисплей.
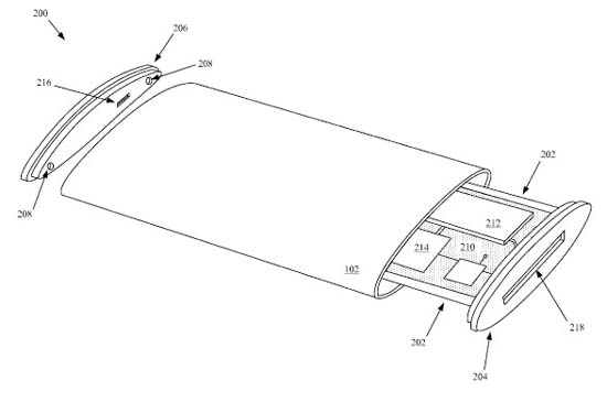
В 2013 году Патентное ведомство США зарегистрировало права Apple на эту идею. В описании патента говорилось о нескольких формах изогнутого дисплея: «полый цилиндр овального, треугольного, прямоугольного поперечного сечения и других форм». Структура самого цилиндра, покрывающего дисплей, как раз и будет сделана из сапфира. Этот материал невероятно устойчив к появлению царапин, Apple уже использует его для Touch ID.

В обновленной заявке от 2015 года Apple детально описывает внутреннее устройство смартфона. Изогнутый дисплей, по замыслу инженеров компании, сможет максимально эффективно использовать площадь корпуса смартфона, например, принимая выгнутую форму. Соответствующая форма уже запатентована Apple. Также в новой заявке упоминается печатная плата с микросхемами и батареей.

Основная часть патента Apple посвящена описанию процесса изготовления изогнутого сапфирового стекла. Вся суть его в том, чтобы «вытягивать» кристаллическую структуру сапфира нужной формы из разогретого материала. Также в патенте описываются варианты использования экрана, работа датчиков и так далее. Например, при вращении телефона информация на дисплее будет автоматически обновляться.

В патенте разработчики Apple отмечают, что управление операционной системой, включая регулировку громкости и возврат на рабочий стол, осуществляется при помощи жестов. Кнопки и переключатели на гаджете отсутствуют. Технология распознавания лица используется для того, чтобы устройство могло определить, на какую часть экрана смотрит пользователь.