Amazon придумала облачный планшет
Не исключено, футуристическое устройство когда-либо обретет реальное воплощение.
Amazon, крупнейший онлайновый ритейлер, заинтересован в продвижении дешевых планшетов и ридеров как никто другой. Потребители обзаводятся устройствами, зачастую реализуемыми по себестоимости или даже в убыток, но затем сполна возмещают фирме расходы через обильные приобретения цифрового контента: девайсы выступают порталом к онлайновым витринам Amazon.
160-долларовый 7-дюймовый планшет Kindle Fire и 70-долларовый 6-дюймовый ридер Kindle — вот нынешняя планка примыкания к электронной вселенной. Но компания желает пойти еще дальше.
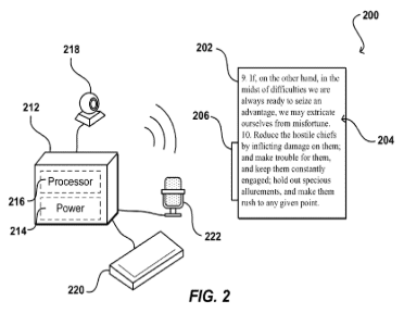
Если верить патентной заявке № 20130069865, Amazon попробует выпустить решительно недорогой планшет, который целиком и полностью завязан на парадигме облачных вычислений. Идея состоит в том, чтобы собрать тонкий и легкий аппарат с простейший процессором и скромной батарейкой. Основная обработка данных ведется в облаке, которое транслирует итоговую картинку на планшет, выступающий фактически «дистанционным дисплеем».
Изобретение описывает чувствительную к сенсорным касаниям заднюю часть планшета, которая измеряет размер ладони, и если та оказывается вдруг детской, незамедлительно включаются механизмы родительского контроля с соответствующими ограничениями на доступ к контенту.
Что интересно, небольшой аккумулятор планшета компенсирован технологией беспроводной передачи электроэнергии от док-станции.
