Amazon патентует систему дополненной реальности
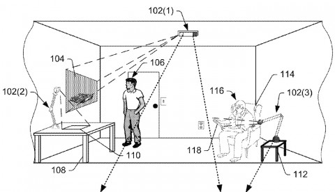
Виртуальная и дополненная реальности сейчас находятся на стадии развития, и многие производители только начинают "прощупывать" этот рынок. Компания Amazon также последовала общей тенденции. Новый патент корпорации описывает систему дополненной реальности, которая не требует от использования никаких специальных очков или шлемов. Проекторы отображают картинку на стены и объекты в комнате, а камеры фиксируют все движения пользователя, что позволяет ему взаимодействовать с виртуальным окружением.

Интересно, что компания Microsoft работает над аналогичным проектом под названием RoomAlive (ранее известный как IllumiRoom), где также используется комбинация из проекторов и датчиков Kinect. В демо-ролике компания показала, как пользователь может взаимодействовать с окружающим виртуальным миром. Но, кажется, что сейчас Microsoft больше сконцентрирована на очках дополненной реальности Hololens.
Главное отличие разработки от Amazon заключается в использовании всего одного проектора, что исключает необходимость постоянной калибровки системы перед запуском. Патент был подан исследователями из секретной лаборатории Lab126, которая является аналогом Google X и Microsoft Research Labs. Напомним, что Amazon ранее уже пробовала себя в области дополненной реальности со своим смартфоном Fire Phone, но популярности эта концепция так и не получила, как и сам аппарат.