5 патентов Apple, которые ждут своего времени
Apple — скрытная компания, которая надежно бережет от посторонних глаз свои технологии и разработки. Но когда дело доходит до патентов, тайное всегда становится явным, ведь согласно законодательству срок публикации патента со дня подачи заявки в Патентное бюро США составляет 18 месяцев. Нам остается только смотреть, какие идеи вызрели в светлых головах инженеров Apple и догадываться, найдут ли экспериментальные технологии применение в будущих продуктах.
1. Улучшенная автокоррекция

Функция автоматического исправления текста чаще всего работает так, как и полагается. Бережет от грамматических ошибок и экономит время, предлагая нужное слово после пары кликов. Вместе с тем автокоррекция породила уйму шуток и причин для недовольства, переворачивая с ног на голову содержания сотен писем и сообщений. Подставляя вместо написанного другие слова, машинный алгоритм порой наносит непоправимый урод отношениям и переговорам. Видимо, в Apple понимают, как разрешить противоречивую ситуацию и запатентовали оригинальную технологию для переписки. Откорректированные слова в iMessage будут выделяться подчеркиванием, причем увидеть его сможет как отправитель, так и получатель. Также технология предусматривает возможность тапнуть на нужное слово и посмотреть оригинальное написание — для устранения разночтений.
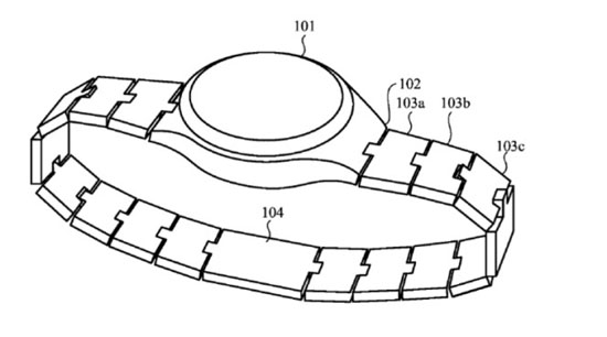
2. Модульные браслеты для Apple Watch

В компании возлагают большие надежды на Watch, раз за часами скрывается пул технологических патентов. Один из самых интересных — намерение расширить возможности наручного компьютера с помощью вывода полезной информации на составляющие браслета. Звенья могут иметь разную функциональность и подлежать замене, что даст возможность кастомизировать устройство под свои нужды и поставить дополнительные датчики, камеру или небольшой дисплей. Впрочем, не стоит забывать — патенты не обязательно подлежат реализации.
3. Дисплеи с дактилоскопическим покрытием

Первый iPhone с сенсором для считывания отпечатков пальцев был представлен в 2013 году. Теперь это уже стало технологическим мейнстримом, аналоги TouchID устанавливают даже в среднебюджетные модели. Правда, новый патент Apple может положить конец существованию этой технологии в нынешнем виде. Для идентификации отпечатков будет использоваться дисплей устройства. Это позволит избавить от физической клавиши Home и закрыть практически всю лицевую панель экраном. Более того, LG недавно представила прототип такого дисплейного модуля, так что патент из категории «фантастические» можно переносить в «вероятные».
4. Трекпад, передающий текстуру и температуру

В последних поколениях MacBook уже реализована поддержка Force Touch трекпадов, которые реагируют на силу нажатия. В компании планируют пойти еще дальше в развитии функциональности этого элемента. Сейчас за имитацию «нажатия» отвечает специальный вибромотор Taptic Engine, который также применяется в Apple Watch и iPhone 6s. Но в будущем на него могут взвалить еще и задачу создавать эффект касания к определенной текстуре, например, ткани или дереву. Эффект будет дополняться изменениями в температуре сенсорной поверхности, чтобы дополнить спектр ощущений пользователя.
5. Многофункциональные обложки для iPad

Smart Cover сможет оправдать свое название, когда научится делать что-то большее, чем просто оповещать планшет о том, что пора разблокировать экран. Возможно, так думают и в Apple. Такие выводы можно сделать из патента, описывающего новые возможности обложки для iPad. Она может получить дисплейное покрытие, а версия с клавиатурой оснащаться сенсорной поверхностью. Первое, что приходит в голову, это ориентация подобных нововведений на иллюстраторов, художников и фотографов.
